首页 > 资料 > 数控刀柄 > 热缩刀柄

资料分类

数控刀片 钨钢刀具 车削刀具 铣削刀具 机床附件 数控刀柄 镗孔刀具 螺纹切削刀具 钻削刀具 测量器具 修边倒角去毛刺 代理品牌刀具 非标刀具定制 环保再利用

客户服务热线

  • 029-81333283
  • 邮箱:14729292929@163.com
  • 手机:14729292929

    微信客服,扫码咨询

HSK100A-CR热缩式烧结刀柄

 2026-03-13 10:32  1033

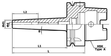
订购号

ød

ød1

ød2

L

L1

L2

刀具夹持
           深度L3

HSK50A-CR04-135

4

16

23

135

109

40

27

HSK50A-CR06-105

6

20

27

105

79

40

37

HSK50A-CR06-135

6

20

27

135

109

40

37

HSK50A-CR08-105

8

20

27

105

79

40

37

HSK50A-CR08-135

8

20

27

135

109

40

37

HSK50A-CR10-105

10

24

32

105

79

47

43

HSK50A-CR10-135

10

24

32

135

109

47

43

HSK50A-CR12-105

12

24

32

105

79

47

48

HSK50A-CR12-135

12

24

32

135

109

47

48

HSK50A-CR12-165

12

24

32

165

139

47

48

 

 

 

 

 

 

 

 

HSK63A-CR04-105

4

16

23

105

79

40

27

HSK63A-CR04-135

4

16

23

135

109

40

27

HSK63A-CR06-105

6

20

27

108

79

40

37

HSK63A-CR06-135

6

20

27

135

109

40

37

HSK63A-CR06-165

6

20

27

165

139

40

37

HSK63A-CR08-105

8

20

27

105

79

40

37

HSK63A-CR08-135

8

20

27

135

109

40

37

HSK63A-CR08-165

8

20

27

165

139

40

37

HSK63A-CR10-105

10

24

32

105

79

47

43

HSK63A-CR10-135

10

24

32

135

109

47

43

HSK63A-CR10-165

10

24

32

165

139

47

43

HSK63A-CR12-105

12

24

32

105

79

47

48

HSK63A-CR12-135

12

24

32

135

109

47

48

HSK63A-CR12-165

12

24

32

165

139

47

48

 

 

 

 

 

 

 

 

HSK100A-CR04-135

4

16

23

135

106

40

27

HSK100A-CR06-135

6

20

27

135

106

40

37

HSK100A-CR06-165

6

20

27

165

136

40

37

HSK100A-CR08-135

8

20

27

135

106

40

37

HSK100A-CR08-165

8

20

27

165

136

40

37

HSK100A-CR10-135

10

24

32

135

106

47

43

HSK100A-CR10-165

10

24

32

165

136

47

43

HSK100A-CR12-135

12

24

32

135

106

47

48

HSK100A-CR12-165

12

24

32

165

136

47

48